單翻斗雨量計

單翻斗雨量計
型號:DF-YAB
產品簡介
本翻斗式雨量傳感器可用于小型氣象站、水文站、農林等有關部門用來測量降水量、降水強度、降水時間。

技術參數
承水口徑:φ150mm
測量范圍:≤4mm/min
分 辨 力:0.2mm
輸出信號:干簧管通斷
工作溫度:0—50℃
重 量:約1千克
接線定義:紅+ 黑- 黃A 藍B
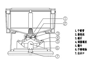
原理結構

(結構示意圖)
承水口收集雨水經注水口注入計量翻斗,當注入水容積達到預定值時翻斗翻轉,在翻轉過程中磁鋼經過干簧管使干簧管開關*次,送出*個脈沖信號,代表0.2mm降水,經儀器記錄可實現自動采集的目的。
檢查調試:
儀器出廠前已調試完好,使用*個汛期后若誤差超過±4%,可進行校驗,用標有MC的10毫量筒盛175毫升水作為基數,(考慮到損耗)注入翻斗,十分鐘內勻速滴完。翻斗正常翻動48~52次之間視為合格。
安裝、使用及維護:
1.將儀器固定在室外基座上,調整水平后緊固。
2.按照接線定義聯接信號電纜。
3.儀器應定期檢查維護,清除塵土、泥沙、雜草、樹葉等,以免堵塞注水口。冬季結冰季節應將儀器搬回室內保存或加蓋保護罩。





 
 
 
 
 
 
 
 





			
			
			
			
			
			
